PS5: Una patente de Sony sugiere novedades para el juego en la nube con PS Now
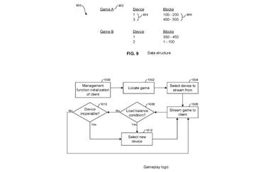
La patente oficial describe un sistema de almacenamiento en red de alta velocidad y baja latencia con una infraestructura de memorias SSD NVMe.

Sony Interactive Entertainment LLC. ha registrado en la oficina de patentes de Estados Unidos un sistema de almacenamiento en red de velocidad ultrarrápida y baja latencia con una infraestructura basada en memorias SSD NVMe, el mismo tipo de memorias que utiliza PlayStation 5.
Como bien adelanta DualShockers, esta patente oficial con fecha del 9 de septiembre de 2021 invita a pensar, irremediablemente, en el servicio de videojuegos en la nube —mediante streaming o descarga, dependiendo de la plataforma— de la compañía japonesa, PS Now, que hasta la fecha ofrece para PS4 y PC un catálogo títulos de PS2 y PS4 (streaming o descarga) así como de PS3 (solo streaming); pero no PS5.

¿PS5 en camino de PS Now? Sony trabaja en novedades en la nube y piensa en videojuegos
El documento sugiere pistas sobre la posibilidad de agregar, de formas todavía por definir, videojuegos de la nueva generación de PlayStation en el catálogo de PS Now, dado que tecnológicamente sería compatible con los requisitos de dicha consola.
En concreto, la patente habla del uso de estas memorias SSD NVMe en la nube para enviar archivos a los usuarios con el único requisito de una red de alta velocidad. Dicha memoria se usaría tanto para reproducir vídeo (las imágenes) como videojuegos, ejemplifican, lo que acerca poderosamente las intenciones de esta patente al departamento de videojuegos de Sony, PlayStation.
El movimiento no debería sorprendernos en caso de materializarse por dos motivos. El primero, porque la propia Sony ya trabaja actualmente con una infraestructura de videojuegos en streaming bajo videojuegos en la nube. PS Now es compatible con consolas PS4 y PC. Es de esperar que, tarde o temprano, PS5 se agregue a la ecuación. El segundo es la propia competencia.
Compañías como Google con Stadia o Microsoft con Xbox Game Pass (Xbox Cloud Gaming) ya cuentan con un extenso catálogo de títulos disponibles en multitud de dispositivos a través de la nube, lo que abre las puertas al nombre de su marca a un público que no necesariamente disponga de una consola en su domicilio.
Noticias relacionadas
Microsoft, por ejemplo, posibilitará este mismo año a los jugadores de Xbox One poder jugar a títulos de Xbox Series gracias al juego en la nube de forma muy sencila. Próximamente saldremos de dudas con Sony; por el momento, el registro es de carácter oficial.
Fuente | WIPO; vía DualShockers