Apple trabaja en un Touch ID para el Apple Watch
Los de Cupertino quieren tienen una idea para incluir el reconocimiento biométrico en su reloj inteligente.

Uno de los dispositivos de los que Tim Cook está realmente orgulloso es del Apple Watch. El reloj inteligente es de los mejores entre los muchos que hay en el mercado y es un gran rival a batir. Dispone de amplias funciones de las que sus usuarios más curiosos saben sacar partido y a buen seguro que veremos más y mejores funciones en el futuro. Una de ellas podría estar muy cerca para el modelo de este año si la patente del Apple Watch con Touch ID llega para este año.
Apple trabaja en un Apple Watch con Touch ID
El reconocimiento biométrico es una de las características que están presentes en los teléfonos actuales. Ya sean tus huellas o tu cara, los teléfonos actuales son capaces de usar esos datos para desbloquear las funciones del terminal y puede que pronto más dispositivos móviles dispongan de esta característica. La evidencia no solo la tenemos en los MacBook, puede que incluso esté pronto en los relojes de la manzana mordida.
Resulta que hoy se ha encontrado una patente de los de Cupertino en la que pretenden colocar el Touch ID en el Apple Watch. Esta función requiere de un panel o superficie donde colocar un sensor de huellas, tal y como hemos visto en los iPhone antiguos o incluso en los MacBook Pro más modernos.

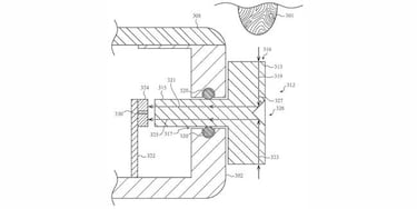
La imagen de la patente es de lo más clara y es que en las oficinas de la firma californiana tienen claro que la corona tiene que ser algo más que una pieza de hardware. Así lo vemos en la imagen, donde vemos una estructura introducida en la estructura principal como si se tratase de un botón. Esto es así, pero lo que plantea es colocar una superficie adicional para que el reloj sea capaz de reconocer algo más que el movimiento sobre la corona.
Noticias relacionadas
“Las funciones que se pueden incluir incluyen las características de la piel de un usuario (huellas dactilares, folículos pilosos) o cualquier otra característica con textura, irregularidad de la superficie, imagen o similares detectables ópticamente de cualquier objeto”. Así es como lo definen en los papeles que se han presentado hoy.
¿Preparado el Apple Watch con Touch ID para 2020?
Apple trabaja en una forma de incluir el Touch ID en la corona del Apple Watch. Sin duda esta es una gran aportación que la firma hace a su wearable, pero hay una pregunta que puede empezar a rondar nada más leer estas líneas: ¿veremos esta capacidad este año?. De momento estamos en el mes de febrero con lo que hay siete meses de distancia a la posible presentación del Watch Series 6. Veremos en los próximos meses si las filtraciones hacen real esta función o si tendremos que esperar a 2021 para comprobarlo.

