Nintendo se adentra en la realidad virtual con Nintendo Labo VR Kit
Nintendo confirma su irrupción en el mundo de la realidad virtual con Nintendo Switch a través de este nuevo kit para su periférico de cartón.

Nintendo ha confirmado un nuevo kit de Nintendo Labo donde la realidad virtual es la gran protagonista: Nintendo Labo Toy-Con 04: VR Kit. El próximo 12 de abril se pondrá a la venta en varios pack con contenidos y precios que pasamos a detallar a continuación.
Los de Kioto se introducen así en la realidad virtual tras decenas de preguntas con respuestas ambiguas, dudas y supuestos rumores que apuntaban la llegada de la VR a las oficinas de la gran N. A lo único que podemos agarrarnos son las patentes que figuraban algo inapelable, y es que Nintendo estaba experimentando con la realidad virtual. Nintendo Labo Toy-Con 04: VR Kit llegará de dos formas: pack de inicio y expansiones.
Experience a new dimension with the latest #NintendoLabo kit! With more games & creations than any previous kit, Nintendo Labo Toy-Con 04: VR Kit is a unique first VR experience kids & families can build themselves! Arriving 4/12, only on #NintendoSwitch.https://t.co/PCxm9sZSed pic.twitter.com/B21Fa2FLCQ
— Nintendo of America (@NintendoAmerica) March 7, 2019
- Starter Set + Blaster kit: un paquete básico que incluirá el visor VR y un accesorio parecido a un blaster por 39,99 dólares (precio en euros por determinar en la hora de publicación de esta noticia).
- Expansion Set 1: este pack de expansión requiere necesariamente del anterior (es un complemento y no un suplemento) e incluye una cámara y un accesorio que tiene forma de trompa de elefante; de hecho, se llama Toy-Con Elephant. En este caso, el precio será de 19,99 dólares.
- Expansion Set 2: este otro pack de expansión incluye dos Toy-Con que tratan de emular a un pájaro. Uno será el pájaro propiamente dicho y otro un pedal que hará las veces de alas. Su precio será también de 19,99 dólares.

Si quieres todo podrás hacerte con el VR Kit que incluirá los 6 accesorios; es decir, tanto el Starter Kit con su blaster y los dos pack de expansión para ponernos en los ojos de un elefante y un pájaro.
Noticias relacionadas
En estos momentos no se ha mostrado ningún gameplay o imagen correspondiente a la jugabilidad de esta nueva experiencia en realidad virtual de Nintendo para Switch; tampoco la fecha de lanzamiento de estos contenidos en Europa.

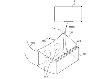
Echando la vista atrás: la patente de finales de 2016
Tal como apuntábamos previamente, ya se supo de forma pública que Nintendo estaba experimentando con la realidad virtual desde finales de 2016, cuando Nintendo Switch ni siquiera estaba a la venta. Una patente aún visible desde la US Patent & Trademarck Office evidenciaba un periférico parecido al Google Cardboard en el que se insertaría una suerte de tablet para visualizar contenido VR. Ahora podemos convenir diciendo que esa tablet es Nintendo Switch y que ese periférico, posiblemente, sea el kit que hoy nos concierne.
