El próximo Apple Watch podría usarse para medir la presión de la sangre
¿Podrás tomarte la tensión con el próximo wearable de la manzana mordida?

Apple ha hecho un gran trabajo con el Apple Watch. Su dispositivo es uno de los más avanzados del mercado y en el que confían numerosos usuarios. No solo se trata de un reloj inteligente que desde su última versión puede funcionar como un teléfono móvil, también dispone de funciones pensadas para mejorar la salud y el bienestar de las personas. Pero en la próxima versión podríamos ver el Apple Watch como un tensiómetro.
Tómate la tensión con tu Apple Watch
Noticias relacionadas
En la pasada WWDC 18 los de Cupertino presumían de tener el dispositivo más útil que podrías llevar en la muñeca. Lo cierto es que posee características muy útiles, y más que tendrá para los diabéticos. Pero en las oficinas de Apple tienen más planes en mente que van mucho más lejos de añadir actividades a la pantalla del reloj inteligente.

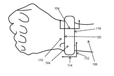
Como puedes ver en la imagen, esta patente muestra el próximo proyecto de la firma estadounidense. Se puede ver un dispositivo para la muñeca, un wearable, en el que indica que servirá para medir la presión sanguínea. No se ve atisbo de una pantalla, pero según indica The Verge, todo apunta a un dispositivo compatible con tecnología Bluetooth. ¿Podría ser una banda deportiva? posiblemente, pero tampoco sería descabellado pensar que sería una nueva función para su accesorio de muñeca.