El iPhone plegable podría llegar sin botón de inicio
La manzana mordida quiere un dispositivo más estilizado y funcional aprovechando unos sensores táctiles en los bordes de su teléfono plegable.

Llevamos mucho tiempo hablando de la llegada de uno de los terminales más interesantes de los últimos años y es la versión plegable de iPhone. Todavía no se ha confirmado nada por parte de la compañía de Cupertino, pero son muchos los rumores que auguran un futuro prometedor a este dispositivo. Uno de los últimos es el de que el iPhone plegable no tendrá botón de encendido.
Adiós al botón de inicio del iPhone en su versión plegable
Uno de los elementos que han permanecido siempre a la vista de los usuarios en todo smartphone ha sido el botón de encendido. Su uso es primordial por el hecho de que es el primer activador del terminal y lo último que pulsas para apagarlo. Así es de importante, pero parece que en la manzana mordida quieren prescindir de él.
No es algo raro pensar, ya que en la casa californiana nos tiene bien acostumbrados a que con el paso de las versiones habrá cambios estructurales en sus aparatos. Y en el futuro podríamos ver algo innovador si es que el iPhone plegable se desprende de su botón de encendido físico.

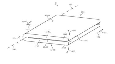
¡Pero que no cunda el pánico! eso no significa que no lo vaya a haber. En su lugar, la compañía estaría pensando en un sistema de bordes sensibles al tacto, tal y como comentan en Appleinsider. En la patente de la que se hacen eco se puede leer que “los botones y otros dispositivos de entrada pueden usarse para recopilar información de un usuario, pero este tipo de dispositivo de entrada puede no ser tan conveniente y versátil como un sensor táctil".
Noticias relacionadas
Con esto, todo apunta a dos cosas: la primera es que la compañía quiere aprovechar cada recoveco del teléfono para hacerlo funcional. La segunda es que quiere un chasis más estilizado, sin rebordes ni huecos visibles. Ahora bien, esto también tendría una parte muy positiva para los usuarios y no es otra cosa que la vuelta de una de las funciones más queridas por los usuarios como es el TouchID.
Por supuesto, estas son ideas que la compañía está barajando para un terminal que podríamos ver próximamente. Estaremos pendientes de cualquier filtración de la compañía y de los futuros avances de esta con su iPhone plegable y otros aparatos con los que nos quiere sorprender este año. Además, si esto llegara a este dispositivo cabría esperar que esta tecnología se aprovechara para su versión más esencial que es la que todo los usuarios de la marca manejan hoy en día.

