Una patente de Sony sugiere más integración de PS3 con PS5 en el futuro
El documento muestra varios periféricos de PS3 que podrían conectarse a la nueva consola si la idea sale adelante.


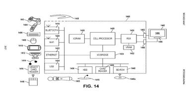
Sony Interactive Entertainment registró el pasado 30 de junio una patente que deja entrever la posibilidad de que la compañía realice una mayor integración de PlayStation 3 en PlayStation 5. Como suele ser habitual en estos casos, las patentes no son indicativos de que las ideas se vayan a materializar en algo tangible, de modo que hay que coger la información con pinzas y como lo que es: una idea creativa.
La patente se denomina “Sistemas y Métodos para convertir el código legado en código actualizado” y recoge un proceso de emulación que aparentemente permitiría utilizar periféricos antiguos de la consola como EyeToy PS Mouse y la consola PSP GO. Además, mencionan algo etiquetado como “lector de tarjetas legado”. Esto parece una referencia a las Memory Card, aunque PlayStation 3 fue la primera máquina de Sony que introdujo disco duro.
En la imagen que acompaña a la patente aparece el dibujo de en PlayStation Move, un mando similar al Wiimote que salió en PS3 para tratar de emular el fenómeno de Wii. Más adelante, Sony recuperó estos dispositivos y los utilizó junto a PlayStation VR, las gafas de realidad virtual de la consola.

Sin retrocompatibilidad con PS3
El nuevo PS Plus ha integrado el servicio PlayStation Now dentro de la suscripción Premium. Como resultado de ello, una selección de clásicos de PlayStation, PlayStation 2, PlayStation 3 y PSP están disponibles para jugar en las consolas modernas. Sin embargo, todos los juegos de PS3 funcionan a través de la nube. Es decir, no hay forma de jugarlos de manera nativa. La razón es que Sony no ha desarrollado un software para emular los títulos de esta máquina en su plataforma de nueva generación.
Noticias relacionadas
Hace unos años, el jefe de Sony Interactive Entertainment, Jim Ryan, desdeñó la retrocompatibilidad y dijo que “quién iba a querer jugar a eso”, en referencia a los juegos antiguos e la saga Gran Turismo. El tiempo y los avances de Xbox en ese terreno parecen haber cambiado o al menos matizado esta visión.
Fuente | GameRant

