Un móvil plegable con pantalla en la tapa, la nueva idea de Motorola
La firma americana está buscando la forma de crear un nuevo dispositivo plegable con dos pantallas.

Motorola ha sido de las primeras compañías en presentar al mundo un teléfono plegable. en su día fue el motorola Razr el elegido para que los consumidores apostase por la firma una vez más, pero la respuesta puede que no fuera la esperada. Pero esto no ha desanimado a la compañía americana, que sigue trabajando para aportar nuevas sensaciones al mercado. El ejemplo más claro nos lo ha dejado con una patente de un smartphone plegable con pantalla en la tapa.
Así es nueva patente de un móvil plegable de Motorola
Los móviles plegables tienen cada vez más presencia en el mercado. Es cierto que todavía están en una fase en la que están destinados al segmento más premium del mercado, pero es un hecho que poco a poco llegarán a estandarizarse. Hasta que ese momento llegue solo podemos echar un vistazo a las novedades que presentan las diferentes firmas así como las ideas que proponen a lo largo del tiempo como es esta nueva patente de Motorola.
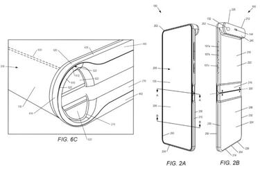
La compañía sigue innovando y ahora nos sorprende con una idea que plantea un smartphone plegable con pantalla por los dos lados. Dicho de otro modo, el teléfono tiene una pantalla interna y otra en la tapa. Resulta curioso cómo se muestra una nueva idea de smartphone plegable más allá de lo que conocemos hasta ahora.

Pero la gran incógnita es para muchos cómo será capaz de hacer fotos el dispositivo. A día de hoy hay muchas formas de conseguir que un móvil tenga una cámara, pero de momento todo apunta a que el módulo inferior albergará esta característica tal y como apuntan en PhoneArena.
Lo cierto es que el dispositivo ya cumple con esa estructura y solo debería ajustarse a la estructura del terminal.
¿El futuro del Motorola Razr?
Noticias relacionadas
Como decíamos al principio, el Motorola Razr es un terminal que ha despertado la nostalgia en muchos y la ha vestido de novedad. El dispositivo es exactamente igual que lo que vimos antaño, pero con las novedades de un dispositivo de vanguardia. La idea que planteó la firma de Illinois es interesante cuanto menos y será cuestión de tiempo ver los planes de futuro que veremos próximamente.
De momento nos tenemos que quedar con sus propuestas en el segmento de los smartphones como fue el Moto G Stylus recién presentado.

