Microsoft planea vender tapas intercambiables para tu PC Surface
La nueva patente de los de Redmond está orientada a vender portátiles con la tapa intercambiable.

El diseño de un ordenador siempre es de ayuda para hacerlo más atractivo a los usuarios. Cada vez más prefieren montarse el suyo, y lo hacen con piezas de lo más llamativas gracias a la iluminación RGB. Pero en lo que se refiere a los portátiles muchos pensarán que poco o nada se puede hacer en este sentido. Y es aquí donde Microsoft quiere dar ahora su propuesta con las tapas intercambiables de los portátiles Surface.
Tapas intercambiables para tu Surface
El único espacio que puedes personalizar para que todo el mundo reconozca tu portátil es la tapa. Esto es una realidad, y es que aunque algunos modelos sea hasta un ‘sacrilegio’ solo tienes que poner una pegatina o funda para hacerlo más personal si cabe. Pero en Microsoft tienen una idea para que no te preocupes en demasía por estropear la tapa de tu portátil Surface nunca más.
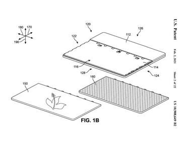
Se trata de una carcasa intercambiable que la firma pone para acoplarse en la parte de la tapa. Esto supone que el usuario tendrá de serie una tapa que protege la parte trasera de la pantalla, pero esta se puede retirar para poner otra distinta. Además, esto ayudará a reponer esta parte de forma fácil y sencilla en caso de que se rompa.

Esto puede llegar a una gran variedad de productos Surface, tanto las tabletas como los portátiles, por lo que los usuarios solo tienen que comprar repuestos. Lo que no habla la patente, y con razón, es de la compatibilidad entre los distintos modelos de tapas, por lo que esta incógnita se queda todavía a la espera de ser resuelta en caso de que saliese el proyecto adelante.
Otras formas de proteger tu portátil
Noticias relacionadas
Es un hecho que la posibilidad de tener una tapa intercambiable en tu ordenador portátil o tableta es de gran ayuda. De hecho, no debería ser algo tan novedoso, sobre todo en las tabletas donde hasta hace no mucho se podían retirar para ver el interior del terminal con facilidad. Esto también se echa de menos en los portátiles especialmente, donde quitar la batería mientras lo tenías a la corriente suponía alargar su vida útil.
Pero en lo que a preservar tu portátil se refiere solo existe una forma clara de hacerlo. No es otra que usar alguna funda o mochila para transportarlo de forma segura en todo momento.

