La idea de Apple para que no se pelen los cables por los extremos
Apple tiene una idea para que los cables de sus dispositivos sean más resistentes en sus partes más sensibles.

La tecnología avanza hacia un entorno en el que se elimina toda conexión física en el apartado de hardware. Sin embargo, la desaparición de los cables ni es tan inminente ni será un estándar total dadas sus bondades. Pero si que es cierto que su degradación es constante y acaba por ser un incordio especialmente si no se sigue con un mantenimiento correcto. Seguro que esto te ha pasado con el cable de carga de tu móvil, pero Apple tiene una idea para evitar que sus cables se pelen por sus extremos.
Cables de Apple aún más reforzados
Seguro que tienes a mano un cable o por lo menos un aparato que se conecte a otro por este enlace físico. Si lo miras sabrás con detenimiento verás que en sus extremos tienen una forma distinta, pero cuando empieza el cable de verdad encontramos un punto débil. No hace falta que lo pruebes ahora, pero seguro que te ha pasado o conoces algún caso de un cable que se ha roto por la parte más cercana a un conector.
Esto es un problema para los usuarios, ya que un conector defectuoso supone un posible riesgo para el dispositivo conectado o incluso la salud de las personas. Y en la casa de la manzana mordida lo saben y por eso quieren reforzar sus cables Lightning por los extremos. Así se puede leer en AppleInsider, donde apuntan a la existencia de una patente en la que la compañía de Cupertino se plantea la posibilidad de reforzar sus cables Lightning.

Noticias relacionadas
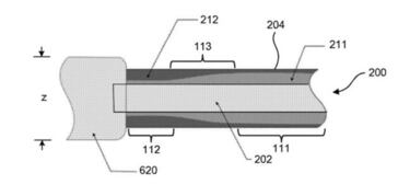
Hasta ahora, todos los enlaces tenían una pequeña extensión que sobrepasaba el conector, pero la patente muestra una protección extra. Después de un uso exhaustivo, el latiguillo puede romperse pero se puede leer que el cable “incluiría un núcleo de cable rodeado por un manguito exterior que tiene un grosor uniforme. Además, dispone de una primera sección longitudinal rígida, una segunda sección longitudinal y una tercera sección entre la primera y segunda sección."
Se trata de una característica que aportará más protección para que los dobleces no acaben por destruir el cable. Recordemos que la compañía está en un momento de cambio con este hardware, ya que en Europa está presionando a la manzana mordida para usar los cables tipo C lo antes posible. Esto supondría estandarizar el mercado y conseguir que el término de conector universal haga honor a su nombre.

