Apple patenta un soporte para pantallas Pro Display
La manzana mordida tiene en mente un soporte para colocar dos de sus mejores pantallas en la pared.

Cada vez es más común trabajar en un ordenador con la ayuda de dos pantallas. Para el usuario normal el vale con una, pero es cierto que para desempeñar algunas labores se necesita más espacio que el de costumbre. En Apple tienen esto muy en cuenta y quiere que sus usuarios tengan opciones más flexibles para usar sus monitores con la ayuda de este nuevo soporte para las Pro Display.
Un soporte muy versátil
Apple se caracteriza por innovar en sus productos aunque para ello sacrifica alguna que otra característica. Pero el proyecto que tienen en mente en las oficinas de Cupertino tiene que ver con un accesorio que seguramente ayude a más de uno. Concretamente a todos aquellos que por trabajo o diversión necesitan dos pantallas delante y requieran de un soporte para colocarlas.
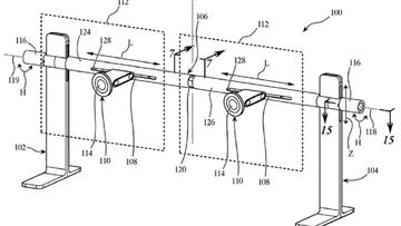
Y es aquí donde la firma americana quiere expandir su negocio con un soporte en el que poner dos Pro Display. En las imágenes que nos deja la patente se puede observar un soporte con patas en los laterales unidos por una barra que se junta en una posición central desde la que se puede plegar. Esto es una cosa interesante ya que se respeta la posición de las pantallas pero esta puede cerrar el ángulo si el usuario así lo necesita.

Otro punto importante está en la barra, la cual incluye los soportes para las pantallas. Estos se deslizan por el resto de la superficie, permitiendo colocar las pantallas en un lado u otro del soporte. Para lograr que estos se muevan hay que usar las ruedas ubicada a los extremos del artefacto, los cuales (según comenta la patente) se mueven con suavidad.
Sencillo y pequeño
Noticias relacionadas
Es curioso ver una patente de Apple orientada a los accesorios de sus dispositivos, pero estamos ante uno muy necesario para los usuarios. La llegada de un soporte para pantallas Pro Display es toda una novedad a la que tendremos que esperar para ver materializada. Lo que también llama la atención es una de las descripciones del texto, el cual habla de que ahorrará espacio y le dará un toque estético digno de la marca. Este reza lo siguiente:
“Estos soportes o brazos individuales ocupan innecesariamente grandes espacios, a menudo son estéticamente desagradables, demasiado complicados y tienen mecanismos redundantes ineficientes. Cuando se utilizan varias pantallas en brazos independientes, puede resultar difícil alinearlas de forma suave y precisa debido al contrapeso y la longitud de los brazos inconsistentes. Cuando se utilizan varias pantallas en un solo soporte, no se pueden ajustar de manera efectiva entre sí alrededor de un eje vertical.”

