Apple investiga nuevos smartphones plegables con pantallas irrompibles
La manzana mordida tiene planes para trabajar en su smartphone plegable con una pantalla que no se rompe.

Estamos en un momento en el que las patentes afloran por doquier. Los diferentes fabricantes trabajan en innovar todo lo posible para que sus próximos dispositivos aporten alguna novedad al mercado. Algunos ya lo han conseguido en el campo de los smartphones con la diversificación a los teléfonos plegables, un sector donde Apple se está preparando para dar el salto. La prueba es una nueva patente que presenta un modelo de móvil plegable cuya pantalla no se quiebra.
Móviles plegables con pantalla irrompible
Es un hecho que Apple está detrás de un teléfono plegable y está cada vez más cerca. Este año no ha podido ser, y tendremos que esperar al siguiente para ver qué novedades trae la manzana mordida en este campo para el año que viene. Pero todavía queda mucho por ver y sobre todo que decidir dentro de la manzana mordida con este proyecto tan importante. Y es que los últimos avances de los de Cupertino en este campo es el diseño de una pantalla que no se rompe.
Y es que esta es una de las grandes preocupaciones de los usuarios: que su teléfono plegable se rompa por su parte más frágil. Los paneles dejan de lado la protección de un cristal sólido por un panel flexible es interesante, pero es verdad que hay que tener muchas cosas en cuenta. Con los usos del terminal es muy probable que la pantalla sufra desperfectos y en la manzana mordida tratan de solucionar este problema.
Noticias relacionadas
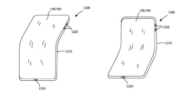
Según Macrumors la Oficina de Patentes y Marcas de EE. UU. ha recibido una patente llamada " Estructura híbrida de revestimiento / ventana para aplicaciones de pantalla flexible”. En él se detalla el uso de una doble pantalla, una más flexible y otra más fuerte. Dicho informe deja patente que las fisuras internas son difíciles de que reparar, pero que existe una forma de evitar que se forme una más grande. El método consiste en, según lo que dice el informe, colocar un cristal “diseñado para tener una dureza y resistencia a la tracción suficientemente altas para funcionar como una capa protectora exterior para el dispositivo electrónico ... Por lo tanto, la capa de revestimiento duro es lo suficientemente duradera para una alta resistencia a perforaciones y rayones”.

De prevenir a curar
La idea de tener una pantalla irrompible en el próximo smartphone plegable es muy interesante, pero si que es cierto que hay otro proyecto aún más interesante en liza. Y es que, como te comentábamos la semana pasada, Apple también ha trabajado en una idea de traer una pantalla que se cura sola, algo que también llama mucho la atención.

