Microsoft trabaja en sus propias bases de refrigeración
Aparece una pantente de la compañía de Redmond para mantener sus dispositivos a buena temperatura.

Microsoft cada día sorprende más en el segmento del hardware. Su abandono en el segmento de los smartphones solo fue el principio de algo mejor y es una posición de poder dentro de las tablets con su gama Surface. Sin embargo, como el pasa al 99,9% de los dispositivos electrónicos, el calor les hace mella y la compañía quiere compartirlo con una base de refrigeración propia tal y como muestra esta patente.
Así es la base refrigeradora de Microsoft
Llega el verano y con él el buen tiempo. Puede que ahora la única forma de tomar el sol es salir a la calle a hacer algo de compra, pero si trabajas desde casa o ya puedes ir a tu oficina el ordenador puede convertirse en un horno fácilmente. Y es que las altas temperaturas no van anda bien con ningún dispositivo y por eso muchos apuestan por tener una base refrigeradora.
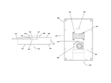
En la imagen que acompaña este artículos tienes una pequeña parte de lo que plantean los de Redmond. Está concebido como un dock de conexiones para portátiles, que por si no lo conoces es un aparato que se engancha al portátil y que le provee de más conexiones extra a las que tiene y lo enchufa a la red eléctrica. Este tiene una peculiaridad y es que para disipar el calor que sale de la parte inferior de la máquina dispone de un espacio para un ventilador aunque podrían ser varios.

Noticias relacionadas
Pero esto es la parte más sencilla, el uso básico de cualquier atril con un ventilador en la parte inferior. La forma que tiene de disipar el calor tiene que ver con el efecto Peltier, de lo que se encarga un dispositivo. Este se basa en la teoría de que dos metales conectados a la corriente ganan o pierden temperatura por lo que la base hará las veces de emisor de electricidad. Mediante unos imanes colocados en la parte posterior de la base se consigue que la misma parte del dispositivo se refresque recibiendo frío de esta parte. Todo esto, por supuesto, sumado al apoyo de los ventiladores hará que el portátil quede a una temperatura aceptable en entornos cálidos.
Como te solemos decir en este tipo de situaciones, esta base de Microsoft para refrigerar ordenadores portátiles es una patente, por lo que puede que esta idea se quede en una caja o veamos progresos y en el futuro veamos un gadget con estas u otras características.

