Sony patenta un servicio de bloqueo de spoilers
Se ha registrado en la United States Patent and Trademark Office para prevenir a los jugadores de destripes indeseados.
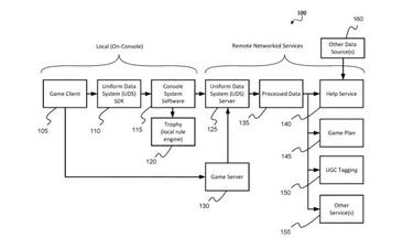
Sony ha registrado una nueva patente en la USPTO, United States Patent and Trademark Office, destinada a crear un servicio que bloquee spoilers para prevenir a los jugadores de videojuegos. Así al menos se define esta apuesta de la compañía, que se basa en implementar sistemas y métodos que permitan identificar datos y metadatos relacionados con un objeto concreto y hacer que se esconda de la vista del usuario si así lo desea si es un destripe en potencia.
La tecnología con la que trabajan está pensada para usuarios que juegan a videojuegos. "El spoiler es la descripción de un importante elemento argumental en un videojuego que, si se conoce previamente, reduce la sorpresa o el suspenso para la primera vez que se juega. Exponerse a destripes puede hacer decaer la calidad de la experiencia general de juego, y puede hacer que los jugadores pierdan interés en los mismos".

En la descripción, Sony indica que "evitar spoilers es de mucha importancia para jugadores en títulos con una fuerte narrativa, ya que pueden evitar que los jugadores conecten profundamente con la comunidad de jugadores que ha terminado el juego". Por estos motivos, se explica que "son una preocupación en juegos single player, cooperativos tipo PVE, etc.".
¿Disponible en PS5?
Por lo que se sobreentiende de la descripción, lo que se considera spoiler en cada juego dependerá de los desarrolladores y de la comunidad, y permitirá esconder elementos de otros jugadores. Dentro de la patente pueden entrar armas, actividades, emplazamientos y más, no solo temas narrativos. No se menciona en ningún momento si será algo a implementar en PS5.
Noticias relacionadas
Esto llega justamente días después que conociéramos los problemas de destripes masivos que ha sufrido The Last of Us II recientemente, con escenas, argumento y final destripados en Internet presuntamente por un extrabajador de Naughty Dog.
Fuente | Mp1st

- Aventura
- Acción
- PS4
The Last of Us: Parte II es la secuela de la aventura de acción The Last of Us para PlayStation 4 a cargo de Naughty Dog y Sony protagonizada por Joel y Ellie. Cinco años después, nos espera una aventura intensa, dolorosa y cargada de emociones. Ellie y Joel vuelven en un viaje épico en la secuela del aclamado juego de los creadores de Uncharted.
