Los MacBook tendrán un nuevo sistema de sonido más envolvente
La nueva patente de la manzana mordida muestra un sistema de sonido tridimensional que propaga más lejos el sonido.

Disponer de un ordenador con grandes capacidades siempre es un gusto para quienes lo prueban. Lo mejor ahora es contar con una unidad de almacenamiento SSD para que el sistema operativo vaya como la seda, aunque tener una configuración de grandes prestaciones siempre es un punto a favor según las necesidades del usuario. Para los que utilizan un MacBook siempre esperan lo mejor en sus aparatos y en el futuro tendrán una mejor configuración de sonido según esta patente.
Nuevo sistema de sonido para los MacBook
Todos los años las diferentes compañías del mundo de la tecnología piensan en nuevas formas de mejorar sus productos. muchas de estas investigaciones acaban en el cajón de algún despacho o registradas para que el día de mañana recuperen la propiedad de esa idea en caso de necesitarlo. Uno de los últimos casos lo tiene Apple en este inicio de 2020 con un nuevo sistema de sonido para sus MacBook.
La manzana mordida empieza el año acordándose de todos sus usuarios que necesitan toda la potencia de un ordenador allá donde vayan. Las diferentes versiones del MacBook se adaptan a las necesidades de todos los usuarios, ofreciendo siempre un PC de grandes prestaciones con algunos componentes configurables. Parece que la compañía californiana tiene intención de mejorar una parte de la construcción de estos como es el sonido.

Noticias relacionadas
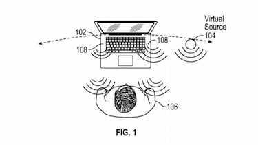
La prueba de esto es que los de Cupertino han registrado una nueva patente con la que pretenden mejorar el sonido de sus MacBook. Según las imágenes y la definición que presenta la firma en el informe el nuevo sistema intenta expandir el sonido más lejos de su zona de acción a través de nodos virtuales. Para conseguirlo todo depende del espacio de propagación de las ondas sonoras para que sean más o menos capaces de crear esos puntos sonoros.
Resulta un sistema de lo más curioso, pero que a buen seguro trabajará con compañías del sector multimedia para lograr este fin. Recordemos que ya hay sistemas en el mercado de sonido tridimensional, lo que les permite dar una sensación al usuario o usuarios de que están dentro de la acción o que reciben perfectamente el sonido desde donde está ubicado en la acción. Solo habrá que esperar a que Apple lance estas novedades en un futuro evento este año donde el portátil sea uno de los platos fuertes, sino el protagonista.

