Apple trabaja en cámaras traseras más pequeñas y potentes para su iPhone 12
Los de Cupertino presentan una patente con lo que podría ser el nuevo mecanismo de las lentes del próximo iPhone.

Apple es considerada una gran empresa en el segmento de la tecnología. Desde hace más de 10 ha estado involucrada en el segmento de los smartphones, postulándose como una de las firmas más innovadoras en cuanto a diseño y arquitectura interna de sus terminales. Esto parece que no va a cambiar y seguirá marcando la pauta de los smartphones de futuro y puede que una de las novedades que imponga el año que viene es la presencia de cámaras traseras más pequeñas y potentes para su iPhone 12.
Menos tamaño sin sacrificar potencia
Las cámaras de fotos son una parte clave en los móviles de hoy en día. Parecía increíble que un teléfono tuviera cámara hace ocho años, pero en los tiempos que corren los hay que tienen hasta cinco y no parecen ser suficiente. Lo cierto es que esta es una parte importante, pero que cada vez ocupa más espacio en la parte trasera de los móviles. Tanto es así que algunos móviles ponen una superficie extra para que el sensor tenga el espacio necesario para operar, pero puede que los de Cupertino hayan dado con la tecla para evitarlo.
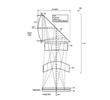
Resulta que Apple ha presentado una nueva patente de las que podrían ser las cámaras del iPhone 12. Todavía es muy pronto para saber si esta tecnología estará disponible en un año, pero por lo pronto ahí queda la idea. El boceto muestra un sistema de lentes complejo en el que con cristales cóncavos y convexos con el que la reflexión de la luz llega mejor al sensor con mucho menos espacio y alcanzando una apertura óptima.

Noticias relacionadas
Por óptima nos referimos a un objetivo que sea 80-200, el cual es capaz de alcanzar una buena distancia focal sin perder detalle. Esto así escrito queda muy bien, pero debes saber que para conseguir este resultado se necesita más espacio, dicho de otro modo, aumentar el tamaño de la lente principal trasera. Por lo tanto, este avance permitiría que el tamaño que las lentes aumenten o sea aún más pequeño.
¿Más datos sobre el iPhone 12?
Todavía estamos con la resaca del iPhone 11, pero lo cierto es que las compañías no pueden permitirse el lujo de parar. Se necesitan a todos los trabajadores pensando en las nuevas tecnologías que incluir en sus próximos terminales. En el caso de Apple, la llegada de esta patente para crear cámaras más pequeñas pero potentes es solo una suposición, del mismo modo que la vuelta a los bordes de metal como el iPhone 4. Tendremos que esperar para conocer todos los detalles oficiales.

