Skin ID, la nueva patente de Apple para reconocerte por tu piel
Apple presenta una patente que muestra un lector de tu piel a través de tu Apple Watch.

La seguridad es uno de los puntos más importantes a la hora de construir un móvil. Los diferentes fabricantes que operan en el sector lo saben y cada vez apuestan por métodos más originales y personales para que nadie entre en un terminal sin permiso. Lo último que podríamos ver en un futuro llega desde las oficinas de Cupertino un escáner de piel para identificarse con el Apple Watch.
El futuro de Apple: el Skin ID
Resulta curioso cómo han avanzado los sistemas de seguridad en los móviles y cómo otros aparatos los han adoptado. Al principio servía con una simple combinación de números, posteriormente un patrón servía para desbloquear el móvil, pero en los últimos cinco años hemos visto una gran revolución en este segmento. Empezando por los lectores de huellas táctiles hasta los escaneos faciales tridimensionales.

Pero en las oficinas de Cupertino piensan que todavía pueden darle una vuelta de tuerca a esta función. Todo se basa en la patente de la Skin ID de Apple. Este no es el nombre oficial de la aplicación, es un nombre que siguiendo la tónica de la firma aparece para arrojar luz a su modo de uso. Según los bocetos nos encontramos con un sistema de desbloqueo de lo más curioso.
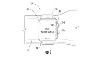
Según los planos, la marca de la manzana mordida tiene presentada la idea de colocar un sensor de identificación cutánea en el Apple Watch. Es el dispositivo que aparece y para esta labor es el más acertado. El aparato no solo contaría con este sensor que mide los surcos de la piel, la posición del vello así como la existencia de marcas características, también se ayuda de otros sensores alojados en una banda especial que hace la misma función.
Notificaciones en la banda
Noticias relacionadas
El sistema del Skin ID que ha presentado Apple no ha sido la única idea que ha planeado la compañía. Otro de los diseños, aunque algo menos espectacular, es el de una banda de sujeción con la que se pretende enviar las notificaciones al usuario, como los LED de aviso de algunos terminales para iniciar la entrada de llamadas, mensajes o correos electrónicos.
Como solemos decir, estos bocetos no son más que ideas que pueden o no llegar a materializarse el día de mañana, así que todo será cuestión de esperar a ver por dónde innovan los de Cupertino.

