Andromeda te dejará controlar el volumen con la mirada
EL próximo terminal de Microsoft sabrá si necesitas bajar o subir el volumen con solo mirarlo.

Microsoft es conocida por todos como una compañía de software que ha tenido un paso tímido al mundo del hardware. Parece que con los smartphones no le ha ido bien del todo, pero eso no significa que no trabaje en proyectos similares como puede ser Andromeda, un dispositivo que regulará el volumen con la mirada.
Sube o baja el volumen sin tocar un botón
Windows y las distintas apps del paquete ofimático han dado la merecida fama a Microsoft. La firma también apuesta por el hardware y una prueba de ello es la gama Surface. Sus ordenadores convertibles todavía tienen que encontrarse un hueco a pesar de demostrar que son capaces de todo. Tampoco nos podemos olvidar de Surface Studio 2, el ordenador pensado para los artistas dado su tamaño y capacidades que le da su dial.
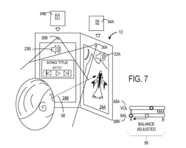
Pero hoy toca hablar de una función recién patentada por los de Redmond que tiene mucho que ver con su último dispositivo que está en fase de desarrollo. No se trata de otro que de Andromeda. El dispositivo está llamado a ser una tablet plegable, un concepto que comparte Samsung cuando habla de su aparato con pantalla flexible. Según la idea presentada se muestra un nuevo sistema de variación de volumen por vista.

Si, es justo lo que estás imaginando. En las oficinas de Redmond consideran factible la posibilidad de que un usuario suba y baje el volumen del terminal con solo mirarlo. Esto no quiere decir que desaparezcan los botones, pero será algo distinto. El aparato centrará sus cámaras en la distancia de tus ojos y será capaz de regular el volumen haciendo una relación de tu móvil y tu cara. Esto no quiere decir que desaparezcan los botones, que formarán parte de la estructura del dispositivo como siempre.
¿Cuándo llegará Andromeda?
Noticias relacionadas
Esta es la pregunta del millón, no cabe duda, y es que ya te comentamos en su momento que Microsoft frenó el desarrollo de Andromeda. Debido a una reestructuración en las oficinas de Redmond, las personas a cargo del proyecto han tenido que volcarse en otras funciones que son más importantes por ahora. Esto no es algo de extrañar, ya que hay muchos problemas que resolver cuando hablamos de Windows 10 y la ya famosa October Update.
La actualización todavía sigue pendiente de relanzarse y parece que todavía tardará hay mucho trabajo por delante.
