Esta nueva patente muestra el sensor bajo la pantalla del Samsung Galaxy S 10
Llega desde corea una nueva patente del nuevo sensor de huellas que podríamos ver en el próximo teléfono de Samsung.

El sensor de huellas es una de las medidas de seguridad más extendidas en la gama alta y media alta de los smartphones. Se trata de un avance de lo más útil, ya que hace más personal y difícil el desbloqueo de un teléfono. Pero tener este sensor bajo la pantalla también hace que el terminal se vea mejor por fuera.
Samsung sabe que tarde o temprano lanzará un Samsung Galaxy S 10 con sensor bajo la pantalla, y una prueba de ello es la patente que te presentamos a continuación.
La nueva patente del Galaxy S10

Noticias relacionadas
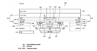
Llevamos meses hablando del nuevo sensor bajo la pantalla del Galaxy S10 y parece que ya van tomando algo de forma. El caso es que la nueva patente del dispositivo, tal y como nos muestran en Movilzona, se colocará en la parte posterior del display y tendrá una forma similar al botón home que traía la firma hasta el Galaxy S7.
Lo que ahora resulta curioso es saber que podría no ser ultrasónico como se mostraba en otra idea registrada. En su lugar, son diferentes filtros los que hacen que este sensor actúe captando la huella del dedo que pongas en el cristal.
