Samsung trabaja en un dron que se puede controlar con la mirada
La firma coreana trabaja en el no va a más: un dron con pantalla que no se controla con mandos.

Cuando en una compañía se embarcan en un proyecto nuevo siempre buscan darle una vuelta de tuerca a algún dispositivo existente al que otorgar una nueva función. Solo por esto, aunque el resultado final no salga en mucho tiempo, lo mejor es presentar una patente como ha hecho últimamente Samsung, en esta ocasión con un dron que se puede controlar con la mirada.
Un dron con pantalla y control con la vista
Noticias relacionadas
En cualquier sector siempre se premia el hecho de hacerlo todo más minimalista a la par que revolucionario. El ejemplo más sencillo lo tienes en el bolsillo, y es que hace 11 años nadie concebía un teléfono móvil sin teclas y una pantalla grande. Últimamente estamos viendo cómo los fabricantes de smartphones eliminan más puertos de conexión en pos de evitar cables.

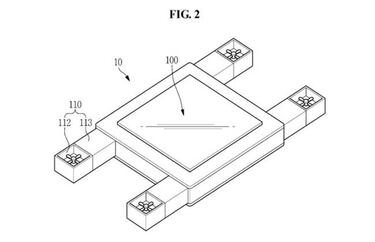
En esta ocasión Samsung vuelve a sorprender con una nueva patente. A principios de mes vimos la idea de un teléfono con pantalla doble y deslizante, pero este nuevo periférico es mucho más interesante. Se trata de un dron que consta de una pantalla que soportan cuatro hélices, las cuales pueden doblarse por sus puentes e inclinar la pantalla. Pero lo más curioso es que a través de su cámara es capaz de seguir las indicaciones del usuario, tanto de su mirada como sus gestos para posicionarse mejor. Aunque no está claro su uso, muchos ya podrían pensar que es el futuro de las videollamadas.