Amazon trabaja en un wearable para controlar el ritmo de sus trabajadores
El gigante de Internet registra la patente de un dispositivo para evaluar el rendimiento de sus trabajadores en el almacén.

La mayoría de los wearables sirven para controlar diferentes parámetros de tu cuerpo. Sensores de ritmo cardíaco, podómetro, acelerómetro, GPS y si buscas algo más completo puedes añadir funciones de control del reproductor de música. En el trabajo no tienen mucha utilidad más allá de ver la hora, aunque si eres culturista o trabajas moviéndote mucho tal vez quieras controlar toda esa actividad. Pero en Amazon tienen otra perspectiva de los wearables como demuestra esta patente de un dispositivo para controlar a los trabajadores.
Efectividad en los envíos
Noticias relacionadas
En cualquier empresa se preocupan por satisfacer a sus clientes. Los pedidos deben llegar a tiempo, sobre todo si eres uno de los mercados más grandes de Internet. Pero esto no es una tarea fácil, los trabajadores de la parte del alamacen emplean mucho tiempo en asegurarse que cada paquete está en su cajón correspondiente y llenarlos para su envío. Antes de que lleguen las máquinas, el gigante de Internet quiere que sus trabajadores sean más efectivos con un nuevo wearable.

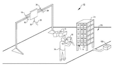
Esta nueva patente de Amazon, que nada tiene que ver con sus proyectos con drones, consiste en una muñequera que vibra para indicar al trabajador lo cerca que está de un cajón que debe verificar. Hasta aquí todo bien, pero también tiene una función que reporta a los superiores por el tiempo que ha tardado cada empleado en legar a su destino e incluso localizarlo en todo momento. De momento, esta idea se ha quedado en eso y veremos si en un futuro se integra o queda en el olvido.