Microsoft patenta el sensor de huellas en la pantalla que necesitaba el iPhone 8
Los de Redmond se adelantan a Apple presentando su solución para incorporar un lector de huellas en un móvil.

Una de las grandes incógnitas en torno al iPhone 8 ha sido la posición del Touch ID. Muchos esperaban que esta función se mantendría en la pantalla a pesar de que el botón Home desaparecerá, pero Apple ha tomado otras decisiones y puede que en el futuro las pague de algún modo. Resulta que Microsoft ha patentado un sensor de huellas en la pantalla, justo lo que necesitaba el iPhone 8.
Es posible incorporar lector de huellas en la pantalla
Noticias relacionadas
Apple sin duda revolucionará la navegación con su posible barra de control, pero da la sensación que los de Cupertino se han dejado algo que incorporar en su smartphone. No hablamos de una pantalla holográfica como la de Hydrogen, sino de una tecnología que estuvo cerca de incorporar. Se trata de una medida de seguridad: un lector de huellas bajo la pantalla.

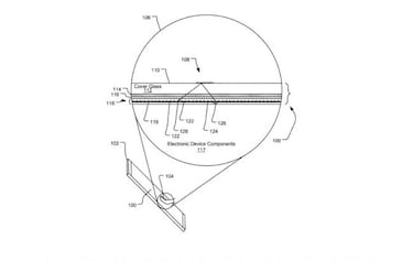
Esta tecnología tan novedosa no llegará al teléfono de la manzana mordida ni tampoco al Samsung Galaxy S9, a menos que paguen a Microsoft. Así es, los de Redmond han presentado una patente de un escáner de huellas bajo la pantalla. En los bocetos se observa cómo los componentes del display se desplazan para reconocer la identidad de quien la pulsa y así desbloquear el dispositivo.