Nintendo patenta un emulador de Game Boy para PC
Se registró el 23 de junio. Los 25 juegos de Game Boy La gallina de los huevos de oro
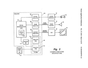
Nintendo patentó a finales de junio una nueva tecnología que consiste en emular videojuegos de sus plataformas portátiles Gameboty, Gameboy Color y Gameboy Advance a nuevos dispositivos como el PC, teléfonos y tabletas. La patente se llama "plataforma portátil de emulación de videojuegos" y apuesta entre otras cosas para mejorar el apartado gráfico y el sonido de los juegos originales.
Noticias relacionadas
En el registro también se indica que se plantea para plataformas de baja capacidad, algo que incluye también "una pantalla en el respaldo del asiento de un tren o un avión". Otras de las características destacadas en la patente es "el uso de BLTing y crear un controlador para una plataforma que sea de cristal líquido". Nintendo dijo en su momento que no tenía intención de sacar juegos en otras plataformas y que la estrategia para abordar dispositivos como los smartphones tenían que ser con elementos complementarios a sus títulos, así que faltará ver hacia donde van estas patentes.
Algunos de los conceptos registrados:



