Las Apple Glass se podrán usar tengas o no dioptrías
La última patente apunta a que cualquier usuario podrá manejar su próximo dispositivo de realidad aumentada.

Llevamos mucho tiempo hablando de un proyecto en el que Apple está poniendo todo su empeño. No, no estamos hablando del próximo iPhone, que también tiene su dedicación, sino de sus gafas de realidad aumentada. Cada día estamos más cerca de conocer el nuevo aparato pero hoy se ha conocida algo que pondrá de buen humor a todos los futuros usuarios y es que las Apple Glass se usarán con o sin dioptrías.
Apple no se asusta ante las dioptrías
Hipermetropía, miopía, astigmatismo… puede que alguna de estas patologías te suenen. Es más, hasta convivirás con alguna de ellas o varias si se da el caso. Como sabrás, se tratan de distorsiones de la visión, algo cada vez más común entre personas achacado al tiempo que pasamos delante de las pantallas. Para su corrección muchos optan por una sencilla cirugía, mientras que otros se conforman con ponerse unas gafas o lentillas.
Actualmente hay personas que hasta llevan la montura sin lentes, simplemente como accesorio, pero en el futuro necesitarán cristales si quieren ver la realidad aumentada. Muchas compañías están trabajando en este ámbito y Apple no puede ser menos. Su proyecto de las Apple Glass lleva sonando mucho tiempo y ahora sabemos que los de Cupertino quieren que uses sus gafas AR tengas o no dioptrías.

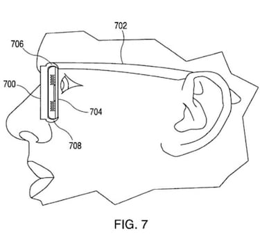
Así lo cuenta PhoneArena, que confirman la presencia de una patente de unas lentes que corrigen automáticamente los problemas de visión. Así es, tengas lo que tengas el gadget tendrá un sistema para cambiar la posición y la configuración de los componentes ópticos según las características del usuario. Esto se hará de forma electrónica gracias a unos chips colocados en los laterales de la lente que modificarán sus cualidades para ajustar la visión de quien las lleva.
Una primera versión sin autoajuste
Noticias relacionadas
Otra de las características a las que apunta el medio es que en la primera versión de las Apple Glass no habrá esta opción de autoajuste. Por lo visto esta opción estará prevista para más adelante de su lanzamiento, algo que está planteado para el año que viene. Lo que tampoco tendrá, al menos en una primera versión, es una cámara en uno de los laterales del dispositivo.
Otros modelos como las Google Glass sí que la incorporan, pero no es el caso de las de la firma californiana. El reporte dice que si es posible que tenga un sensor de profundidad, algo que ayudará al teléfon emparejado a realizar mejores fotografías con los datos que cruzan ambos aparatos.

