Google patenta unos patines VR para jugar en exteriores
Lo último de la gran G ayudará a que utilices las DayDream VR en exteriores.

Estamos acostumbrados es ver patentes que auguran cómo serán los dispositivos del futuro. Encontramos buenas ideas en los registros, algunas de ellas llegan a materializarse mientras que otras… bueno, no son tan brillantes y se quedan en un cajón esperando a que llegue su momento. Es lo que posiblemente pienses cuando te digamos que Google propone unos patines para usar la VR en la calle.
Los patines que te mueven en la VR
Noticias relacionadas
La realidad virtual está mostrándonos muchas posibilidades para el mundo del entretenimiento, y es que nunca había sido tan intensa la experiencia de entrar en un mundo virtual. El problema es que a veces te gustaría moverte en libertad por él y por desgracia eso es imposible, al menos hasta ahora.

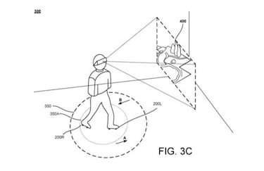
Y es que Google ha patentado un sistema con el que puedes moverte por la VR sin mover los músculos de las piernas. ¿Cómo es eso? pues con unos patines inteligentes. Un sistema de motores eléctricos te transporta hacia donde tú quieras. Como puedes ver en la figura, el usuario solo ve las dos pantallas internas, pero las zapatillas llevarán unas ruedas para moverte a cualquier lado. ¿Tendrá futuro esta idea que a buen seguro irá de la mano de DayDream View?.
