Posibles novedades para el Xbox One Elite Controller
El futuro rediseño tiene más opciones para que se adapte al gusto de cada jugador Cyberpunk se pensó para PS4 y Xbox One desde el comienzo Fallout 76: no habrá cross play entre PS4 y Xbox One

Microsoft ha patentado una nueva versión de su Xbox One Elite Controller. Este mando fue pensado para profesionales y para los jugadores que quieran un mando Premium. Después de que el primer modelo dejó muy satisfecho al público, la compañía americana no quiere dejar ir ese hilo y presenta un segundo modelo.
A pesar de que es una patente oficial, es solo un anticipo de lo que nos podamos ver el futuro, es posible que no todas las novedades que veamos sean las que tenga en control cuando sea lanzado
Pensado para personalizar
Noticias relacionadas
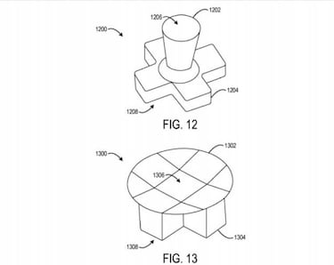
Este concepto dará más opciones de personalización a los jugadores, un controlador modular donde podamos extraer e intercambiar más componentes, como un pequeño joystick vertical y dar más opciones a cada botón. Un punto a favor es la alimentación vía USB-C, que se quiere establecer como el nuevo estándar de carga y garantizaría algo más de velocidad en ese proceso.

También podemos esperar novedades en los componentes o la ergonomía del control, pero todavía es temprano para anticiparse, es posible que veamos más el año que viene .