Controlar el asiento por voz, el nuevo invento de Ford
Ford quiere que regules el asiento con solo dar una orden de voz al coche.

Los coches incorporan cada vez más aparatos controlados electrónicamente. Ya no hablamos de los elevalunas, el cierre centralizado o el panel de instrumentos, de hecho, esta vez ni siquiera hablaremos de los coches autónomos. Y es que aunque cueste creerlo, todavía hay una parte del habitáculo que solo se puede manejar de forma mecánica: el asiento. Y es que Ford quiere que regules tu sitio con una simple orden.
Ford patenta el reglaje del asiento por voz
Noticias relacionadas
Ford es una compañía que está avanzando en el sector del automóvil en una dirección distinta de la que siguen otras compañías. No está demasiado interesada en la conducción autónoma, más bien en esas mejoras que hacen más sencilla la conducción sin quitar al conductor la experiencia de pilotar su vehículo.

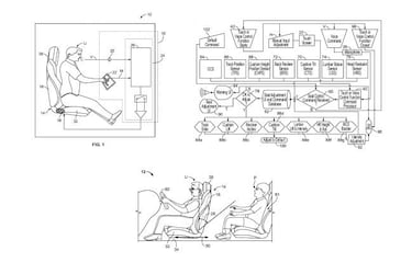
En esta línea ha presentado una patente que muestra un sistema por voz para regular los asientos. Hasta ahora habíamos visto asientos que se podían mover de forma electrónica, simplemente pulsando un botón hacia un lado u otro, pero la firma americana va más allá. Según el esquema, el comando se introduce y el coche toma las medidas necesarias para que conductor y ocupante de la parte de atrás estén cómodos en todo momento.