Apple sabrá hacia dónde te diriges en coche según esta patente
Los de Cupertino trabajan en un nuevo software que predice tus proximos movimientos con tu coche.

En el mundo de la manzana mordida hay mucho más allá de los Mac, iPhone y Apple Watch con sus consiguientes versiones de sistema operativo. Los de Cupertino se esfuerzan cada vez más en ampliar su espectro con nuevas aplicaciones en las que se abren paso de manera notable como son los videojuegos, la inteligencia artificial y los coches inteligentes. En este último apartado parecía que tenía algo de hardware en mente, pero todo apunta a que Apple prepara un software de conducción predictiva.
Conduce o busca donde aparcar, Apple lo hará por ti
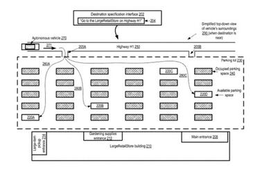
¿Te suena el proyecto Titán? Los de Cupertino mostraban hace unos meses un trabajo de hardware que apuntaba a crear una inteligencia artificial con la que crear un coche autónomo. Pero el CEO de la firma, Tim Cook, ya ha dejado claro que busca soluciones de software antes que tener su propio coche circulando por las calles. Y no, no se trata de una IA como la que está trabajando con Nvidia, se trata de otro proyecto totalmente distinto.

Noticias relacionadas
Apple trabaja en una inteligencia artificial capaz de reconocer cuál será tu próximo movimiento mientras conduces. Como es lógico, no manipules el teléfono mientras conduces, pero si llevas un acompañante, según dice la patente, el teléfono sabrá qué necesitas como una ruta alternativa al destino o incluso aparcamiento por la zona.