¿Superará el precio del Samsung Galaxy X al del iPhone X?
Se ha desvelado el que podría ser uno de los mejores secretos del terminal flexible de Samsung.

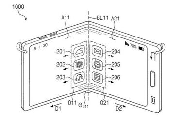
Samsung tiene muchos planes en mente enfocados a su próximo terminal de la familia Galaxy. No nos referimos al Galaxy Note 9 con su posible lector de huellas bajo la pantalla, sino a su próximo gran teléfono de vanguardia. Puede que para su próximo terminal opte por el camino de la innovación más arriesgada y opte por un terminal plegable. Pero antes de conocer si esto se cumple o no, se ha desvelado un detalle muy interesante cuando menos: el posible precio del Samsung Galaxy X.

¿Más caro que el iPhone X?
Noticias relacionadas
Samsung está trabajando en el Galaxy X, un terminal plegable que no saldrá nada barato. con la tecnología más moderna pretende lanzar un móvil plegable que deslumbre. Como te puedes imaginar, hacerse con él exigirá desembolsar una interesante suma de dinero. Y es que todo apunta a que el precio del Galaxy X podría rondar los 1.600 euros con facilidad
Samsung es una de esas compañías a las que el resto mira esperando sacar algo de inspiración para sus terminales. Si tenemos en cuenta estos datos, podríamos ver un nuevo milagro de la tecnología que, en este caso, sería más caro que el teléfono más potente de la competencia: el iPhone X.