Nintendo patenta un dispositivo andante pasivo
Un módulo con forma de piernas robóticas
Nintendo registra una patente de robótica pasiva
El pasado 14 de diciembre Nintendo Co., Ltd. registró a través de la World Intellectual Property Organization la patente de un dispositivo y un módulo andante pasivo, algo similar a lo que podemos ver en el vídeo adjunto en la noticia.
Noticias relacionadas
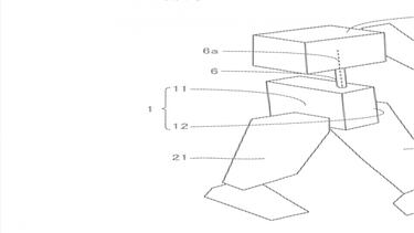
Tal como vemos en los esbozos del registro, se trataría de un robot modular con forma de tren superior e inferior, compuesto por un tronco y extremidades. Además, estaría apoyado por un eje central que haría las veces de cintura, permitiendo así su rotación parcial y otros movimientos.
En el registro no se hace alusión a la materialización de esta patente, por lo que tal como ha sucedido con Nintendo en el pasado, puede no tenga ninguna aplicación en el futuro, aunque lo que es seguro es que la compañía está interesada en esta vertiente de la robótica, cuya aplicación en la industria del videojuego todavía no se ha experimentado.

