Así es la carcasa para móviles que abre tu coche
Ford ha presentado una patente que muestra una carcasa que sirve como llave para abrir y cerrar tu coche.

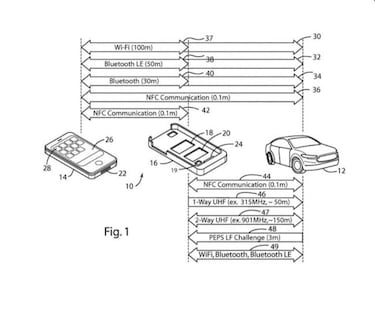
Todo buen conductor se preocupa por el estado de su vehículo. El gesto más básico es el de cerrar correctamente la cerradura de las puertas, esencial para que ningún caco entre con facilidad. Algunos sistemas modernos no necesitan ni que saques la llave del bolsillo, como en el caso del GT 86 que detecta el código del mando y permite el acceso al habitáculo. Pero lo más probable es que en el futuro las llaves desaparezcan por una carcasa para tu smartphone que abra tu coche.
Así es la carcasa de Ford
Noticias relacionadas
El fabricante americano es uno de los más importantes del sector y ahora busca una nueva forma de mejorar sus servicios. De hecho, hasta ha abandonado el ruido del motor para ser el copiloto perfecto de los transportistas con su gorra Safecap que avisa de los signos de cansancio del conductor. Pero quiere llegar a todo el mundo con una nueva carcasa para abrir tu coche.

Así es, el mismo accesorio que sirve para proteger tu smartphone también te servirá para cerrar tu vehículo. De momento, es una patente que en la que se muestra que con tecnología sin cables es posible desactivar y activar las cerraduras de las puertas. También existe una posibilidad de que este proyecto se enfoque a una app. Sea cual sea la idea, Ford tiene claro que la llave de los coches del futuro es el smartphone.