¿Trenes Amazon? Su servicio de reparto con drones podría crearlos
Los drones podrían repartir su mercancía directamente desde el contenedor que lo transporta.

Amazon continúa buscando en una fórmula para que su sistema de reparto sea más efectivo. Ya no es una cuestión de vender productos a todo el mundo, sino de romper las posibles barreras para que cada paquete llegue correctamente y a tiempo a su destino. Para conseguir este objetivo se apoya en un novedoso sistema de reparto de drones que despegan desde los trenes de mercancías.
Así es la patente de los ‘Trenes Amazon’
Noticias relacionadas
Uno de los transportes más utilizados para llevar grandes mercancías por tierra es el tren. A diferencia de los camiones, estas máquinas son capaces de llevar toneladas de material en sus vagones que luego se distribuirán a los diferentes puntos de venta, almacenes o a tu propia casa.


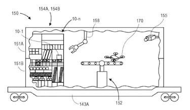
Pero Amazon quiere darle un uso adicional a este vehículo. Resulta que su nueva patente muestra cómo son los ‘trenes Amazon’ para su reparto con drones. En las imágenes que te mostramos se puede apreciar cómo los vagones disponen de un pequeño almacén robotizado con todos los pedidos para cargarlos en los drones y que estos despeguen directamente del compartimento de carga hacia su destino. Estas aeronaves volverán al tren en movimiento en vez de regresar a su ‘ almacén colmena’ cuando estén construidos, ya que en el compartimento disponen de los consumibles básicos para su mantenimiento como baterías o hélices de repuesto.