Apple patenta un stylus que copia la escritura al iPad
Similar al de los Galaxy Note.

Noticias relacionadas
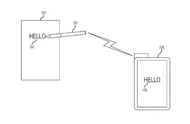
La Oficina de Patentes y Marcas de Estados Unidos ha recibido la patente de un nuevo Communicating Stylus por parte de Apple, un bolígrafo inteligente que sería capaz de capturar de forma digital nuestra escritura manual sobre todo tipo de superficies y enviarla directamente a las pantallas de nuestros dispositivos iOS, como iPhone, iPad o Mac.
Y lo haría mediante transmisión inalámbrica gracias a varios acelerómetros y otros sensores, además de disponer de cierta memoria interna para almacenar algunos datos. Según rumores cercanos a la firma de Cupertino, Apple podría lanzar un iPad Air 2 de mayor tamaño junto a este nuevo lápiz óptico. Recordemos que en 2007 Steve Jobs ya habló sobre esta posibilidad con “¿Quién quiere un lápiz? Nadie quiere un stylus”. Parece que los tiempos cambian.

