El próximo dispositivo móvil de Microsoft podría ser modular
Dos nuevas patentes muestran nuevas características de cómo será el nuevo dispositivo de los de Redmond

Microsoft se retiró del mercado de los teléfonos móviles, pero esto no le ha impedido buscar otras opciones dentro del amplio sector de los dispositivos móviles. Ya tiene sus tablets Surface posicionadas en el mercado pero los de Redmond quieren algo más. Y es que su nuevo proyecto se trata de un dispositivo móvil que podría ser modular.
Dos nuevas patentes de Andromeda
Noticias relacionadas
Es un secreto a voces que Microsoft trabaja en un nuevo proyecto dentro del sector de los teléfonos móviles. El dispositivo, que recibe el nombre de Andrómeda, está entre una tablet y un teléfono inteligente y podría hacer su aparición este mismo año. Pero todavía falta mucho 2018 por delante y hay tiempo para los cambios.

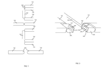
De momento, lo que se mueven son las dos nuevas patentes de Microsoft para Andrómeda. Cada una muestra una teoría distinta sobre cómo será el sistema de cierre del dispositivo. Uno de ellos es un sistema de bisagra convencional, es decir, que tiene un punto sobre el que plegarse. La otra propuesta es más interesante si cabe, ya que costaría de un cierre magnético que lo transformaría en un dispositivo modular. Tendremos que esperar a ver por cuál de las dos opciones se decantan en Redmond.