Nintendo patenta unas pantallas comunicadas entre sí
No tiene por qué tratarse de Switch

Nuevo registro de patentes de Nintendo: pantallascomunicadas
Un registrode patentes por parte de Nintendopresenta una posible nueva forma dejugar a videojuegos, algo que forma parte del ADN de la compañía de Kyoto.Lo primero que hay que decir es que no existe ningún tipo de indicio que estapatente tenga algo que ver con Nintendo Switch; como tampoco que vaya amaterializarse en el futuro.
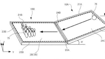
DigitalTrends ha descubierto la existencia de este registro que se basa en la comunicación entre pantallas, talcomo se muestra en la imagen. Según vemos, este nuevo sistema de juegopermitiría que varias unidades se conectasen entre sí combinando “posibilidades y grados de libertad”. Conesta tecnología dos usuarios con sus propias consolas crearían una solapantalla multitáctil en la que sucederían diferentes acciones.
Pero eso no es todo, porque aquí entraría en juego otroelemento como es el de la altura y losgrados de inclinación de cada una de las superficies. Por ejemplo, siinclinamos una de las pantallas podría empezar a caer una bola para derribarlos bolos.
Noticias relacionadas
Asimismo, gracias a uso de giroscopios y acelerómetros se podrían traspasar elementos a tiempo real entre pantallas, aprovechándosede nuevo de los ángulos e inclinaciones.
Desconocemos si estas conexiones se podrán aplicar en elfuturo en Nintendo Switch, aunque desde algunasfuentes consideran la posibilidad como algo factible en el actual sistemaoperativo, pero esto último no es información.